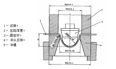
赵家,特种涂料研发化学师 佐敦涂料(张家港)有限公司 环氧富锌,指的是以环氧树脂作为树脂体系并且干膜中的锌粉质量含量在65%以上的涂料。根据标准不同定义略有差异。在SSPC paint-20中规定锌粉含量在65%以上为富锌产品,而HG/T 3668-2009中规定金属锌含量在60%以上为富锌产品。其实这两个标准差异不大,因为按照ASTM D520/ISO 3549中规定type II锌粉中金属锌质量含量为94%。以65%锌粉含量为例,漆膜中金属锌的质量含量应约为61%。 在探讨富锌底漆的时候,大家总会把防腐性能放在首位,而忽视了富锌底漆在柔韧性方面存在的局限性和由此带来的风险。随着现代建筑类型的增多和钢结构的复杂多样性,环氧富锌除了需要优异的防腐性能,其柔韧性也越来越被重视以满足如今复杂的钢结构设计要求。 # 1 现有涂层柔韧性测试方法浅析 那么如何用测试手段来评估漆膜柔韧性好坏呢?本文将对目前比较主流的漆膜柔韧性测试方法进行介绍和探讨。 ## 1.1 柱形弯曲 这是目前针对漆膜柔韧性最普遍的第三方检测方法,对应标准是GB/T 6742-2007(ISO 1519-2011)和GB/T 1731-93,如图3.1。  图1.1柱形弯曲测试方法 在GB/T 6742-2007(ISO 1519-2011)标准中,图1.1左侧为测试仪器,它有一根固定的铰链,连接圆柱的轴,轴的直径从2mm到32mm不等。试板一般为厚度不超过0.3mm的马口铁或铝板,涂膜后将试板放置在23±2℃和50±5%的相对湿度在干燥16小时以上进行测试。测试时将仪器完全打开,装上合适的轴棒,插入试板,并使涂层面朝座板,在1~2秒内以平稳的速度合上仪器,使试板绕轴弯曲180°,最后用肉眼观察涂层是否开裂。 在标准GB/T 1731-93中,图1.1右侧为测试仪器,由7个直径不同的钢制轴棒固定在底座上所组成。直径从1mm到35mm不等。试板是0.2~0.3mm厚度的马口铁,涂膜后按产品规定的要求干燥后进行测试。测试时用双手将试板漆膜朝上,紧压于规定直径的轴棒上,利用大拇指的力量在2~3秒内绕轴棒弯曲试板,弯曲后两大拇指应对称于轴棒中心线,最后用4倍放大镜观察漆膜是否开裂。 在以上两个标准中有几个重要指标需要注意: ·所使用的底材均为马口铁,而工业涂料所用底材一般为喷砂钢板 ·涂层厚度并没有明确规定,目前行业内在第三方检测时默认膜厚20μm,而环氧富锌标准膜厚一般为60~80 μm ·干燥时间一般为24小时或48小时,此时漆膜仅仅达到实干并没有完全固化(针对多组分涂料) 所以此方法得出的结果并不能反映真实工况下漆膜的柔韧性。另外,以上测试只针对单一产品,完全不能反映涂层体系的整体柔韧性。 ## 1.2 杯突试验 此标准为GB/T 9753-2007(ISO 1520:2006),测试仪器如图1.2所示,主要由冲模,固定环和冲头组成。测试试板为厚度范围0.3mm~1.25mm的马口铁。 按照规定要求干燥/固化涂层后,将试板固定在固定环和冲模中间,涂层面向冲模,并使冲头半球形的顶端刚好与试板未涂膜的一面接触,将冲头的半球形顶端以0.1mm-0.3mm/s的速度推向试板,直至达到指定深度或漆膜开裂。 1— 试板; 2— 压陷深度; 3— 固定环; 4— 冲头及球; 5— 冲模  图1.2杯突试验 如表1.1所示为佐敦涂料产品环氧富锌J1与竞品C1,C2,C3的杯突试验对比结果,分别对比了单道漆膜和三涂层配套,单道漆膜的厚度分别为30μm和60μm,而配套涂层厚度为150μm和180μm,其中在配套测试中保证使用相同的中漆和面漆。测试结果为漆膜开裂前的最大深度。固化条件为1天@23℃+5天@60℃+1天@23℃。  表1.1杯突试验结果 此测试结果单位是mm,值越大,漆膜被压陷程度越大,柔韧性越好。结果显示J1在30μm的膜厚下明显优于其他三个产品,测试结果超过3.5mm,而当漆膜翻倍到60μm时,4个产品的测试值明显下降,最高值的J1也并未超过2mm。 而在三涂层配套的测试中,所有结果非常接近,无法判断柔韧性好坏,这与1.2章节中的弧形弯测试结果类似。说明此测试方法同样在评估多涂层体系时有局限性。 ## 1.3 固定轴弧形弯曲 此标准为NACE TM0204-2004,如图1.3所示由13个固定轴组成,轴半径从64mm到300mm不等。试板一般为200mm×25mm×6mm的喷砂钢条,清洁度为Sa21/2,粗糙度为50~80μm。  弯曲测试仪器 测试试板 图1.3弯曲测试 涂膜后根据产品固化要求使涂层完全固化后进行测试。选定一个固定轴,将未涂膜层试条面向轴并与其紧贴,在10~30秒内弯曲试条使其略微超过轴半径完成测试,用肉眼观察涂层表面是否开裂,如开裂转移到半径更大的轴测试,如未开裂则转移到半径更小的轴进行测试,直至漆膜出现开裂。最后用开裂和最后一个未开裂的半径轴计算处的结果取平均值得出最后的测试结果,我们称之为弯曲应变(Flexurestrain),计算公式如下: 弯曲应变=(t/2+c)/(R+t/2) 其中:t=测试试条的厚度(mm) c=涂层的厚度(mm) R=固定轴半径(mm) 此标准是针对应用于海水浸泡环境下所用涂料开发的,这里被选用主要原因是测试底材为喷砂钢板,与现实使用底材非常接近,而涂膜厚度和固化要求也是按照产品说明书来进行,最终结果比较能反映出真实工况。 表1.2固定轴弧形弯曲测试结果  如表1.2所示为佐敦涂料产品环氧富锌J1与竞品C1,C2,C3的固定轴弧形弯曲测试对比结果,分别对比了单道漆膜和三涂层配套,单道漆膜的厚度分别为50μm和100μm,而配套涂层厚度为250μm和300μm,其中在配套测试中保证使用相同的中漆和面漆。固化条件为1天@23℃+5天@60℃+1天@23℃。 从单道漆膜的测试结果可以看出J1在50μm膜厚下的应变为1.7%左右,而C1,C2和C3都在1.4%以下。当漆膜厚度达到100μm时,J1的优势更为明显达到接近1.6%,而C1,C2,C3最高才略高于1%。从单道漆膜来说,J1明显优于C1,C2,C3;而同个产品自己比较,膜厚越高,弯曲应变越差,这符合大家印象中膜厚越高,漆膜柔韧性越差的理论。 而观察三涂层配套的结果不难发现,4个产品不管膜厚高低,最终结果相差无几。这是因为在评价测试结果时,只有当面漆出现开裂时才能判断测试终结,而事实上在面漆开裂之前底漆或者中间漆可能已经出现了开裂现象。这也是此测试方法在评价多涂层配套时的局限性。 ## 1.4 拉伸试验 拉伸试验主要针对金属,塑料,橡胶等材料应用较多的测试手段,在涂料行业中并不多见。本文将对涂层进行拉伸测试来评估漆膜柔韧性。 1.4.1万能试验机(UTM) 传统对材料进行的拉伸试验设备是万能试验机(UTM),采用标准ASTM D 412:硫化橡胶和热塑性弹性体拉伸试验方法。本文采用此标准中“12.3测定扯断永久变形”来对涂料进行测试分析,设备型号为GOTECH Al-7000S(图1.4),测试结果如表1.3所示。  图1.4万能试验机 表1.3为C1,C2,C3和J1四个环氧富锌产品的三涂层配套断裂伸长率测试结果,为保证平行对比结果可靠性而使用相同中间漆以及面漆。配套膜厚为1×60μm(C1,C2,C3,J1)+1×200μm环氧中间漆+×60μm氟碳面漆,总膜厚为320μm。固化条件为1天@23℃+5天@60℃+1天@23℃,测试温度分别为10℃,25℃和40℃。 从表中可以看出随着测试温度的升高,漆膜的断裂伸长率明显提高,这说明漆膜在高温下变得更柔软柔韧性更高。而在同一个温度下,J1都比其他三个产品伸长率更好,也验证了此方法与1.2和1.3章节的方法具有一致性。 从表中得到此测试结果最低值为只有约0.5%,然而此方法的测试精度为0.01%,当测试脆性材料时(如低温测试环境下),测量结果精度较低。 表1.3 UTM拉伸试验结果  1.4.2动态热机械分析仪(DMA) DMA的主要应用为测试材料的储能模量和损耗模量来对材料进行动态力学性能分析,得到材料的粘弹性性能。而本文是利用DMA的高精度特点进行UTM类似的拉伸试验。本文采用的DMA Q800系列(图1.5)测试精度为0.0001%。 图1.5动态热机械分析仪  设置DMA的模式为受控拉力模式,设定拉力以1N/min的速率缓慢增大拉力直至漆膜断裂。这里需要说明的一点是UTM增大拉力是以mm/min的方式进行,这是除了测量精度以外DMA与UTM最大的区别。 表1.4为三涂层漆膜断裂伸长率的DMA测试结果,配套膜厚为1×60μm(C1,C2,C3,J1)+1×200μm环氧中间漆+×60μm氟碳面漆,总膜厚为320μm。固化条件为1天@23℃+5天@60℃+1天@23℃,测试温度分别为-20℃,0℃,10℃,25℃,40℃和60℃。需要注明的一点为DMA与UTM测试所用的环氧中间漆为不同产品,测试结果不能直接比较。 表1.4 DMA拉伸试验结果  表1.4由6个独立的表组成,代表了6个不同的测试温度,分析结果可以得知随着温度的升高/降低,同一个产品的断裂伸长率也随之增大/减小,这与UTM的测试规律保持一致。佐敦产品J1在所有测试温度下断裂伸长率都是最高的,从-20℃下将近2.5%增大至60℃下将近8%。当测试温度低至-20℃时,不同产品的断裂伸长率还是有足够大的差别,说明DMA在测试脆性材料时依然有较高的精度,测试误差比UTM要小。当然DMA也有局限性,因为设备最高拉力为18N,为了最终拉断样品需要控制样品的宽度和厚度。 不管是UTM和DMA,最终表征的是材料本身的断裂伸长率,而涂料是涂层与底材相结合来作为终端使用,涂层的柔韧性也需要与底材结合来体现。但在涂料的开发阶段拉伸试验确是一个很好的辅助工具。 1.5 高低温循环测试 考察温度对涂层开裂的影响,采用佐敦涂料内部测试方法,即将施工在底材上并按要求干燥/固化后的涂层放置程序控温箱(图1.6),一个温度循环为12小时按照图1.7进行。底材为喷砂处理到Sa21/2,粗糙度为50~80μm的T型钢。同时为了考察膜厚对开裂的影响,选用的T型钢沿焊缝处的长度为40cm,被考察的环氧富锌底漆C1,C2,C3和J1的涂膜厚度从焊缝一端到另一端逐渐从50μm增加到150μm,保持环氧中间漆为150μm,聚氨酯面漆为50μm,三涂层总膜厚为200~350μm。固化条件为1天@23℃+5天@60℃+1天@23℃。 图1.6程序控温箱  图1.7高低温循环曲线 表1.5高低温循环测试结果  表1.5为三涂层配套高低温试验结果,其中C1和C2测试1周后漆膜出现开裂现象,这是因为不同材料的热膨胀系数不同,在温差达到80℃的情况下漆膜内部或漆膜与底材之间产生了不同的热膨胀应变,当漆膜柔韧性不强时就会产生开裂。J1在测试16周之后仍未开裂(图1.8),说明此三涂层体系的对耐热应变的柔韧性较好。 图1.8 J1三涂层体系测试16周未开裂  观察C1,C2和C3时我们发现最先开裂的地方都集中在高膜厚的焊缝处,这说明了结构的复杂性,温度的骤变和高膜厚会对漆膜的抗开裂性能(柔韧性)带来极大的风险和挑战。所以在对漆膜进行柔韧性测试的时候,一定要对这几点因素综合考察和评估。 # 2 、结语 本文探讨了几种针对环氧富锌底漆以及三涂层配套体系的柔韧性测试方法。其中有在涂料行业广为人知的方法,如1.1,1.2和1.3所介绍的,也有并不是专门为涂料行业开发的测试如1.4,还有内部标准1.5。从测试的结果来看,这些测试方法能够用来比较不同产品/体系的柔韧性优劣,但这几种方法都不能反映实际的工况。回到本文最开始提到的,如今的钢结构设计越来越复杂,如何能保证包括像环氧富锌底漆比较脆性的涂料在内的涂层体系在复杂结构上承受更大幅度的应力循环和温度波动而保持良好的柔韧性?也许我们需要一种更贴近真实工况的系统性测试方法。这需要整个行业的重视和努力。